SA87齒輪減速機詳細信息
SA87齒輪減速機
SA87齒輪減速機重量:
SA87齒輪減速機重量 | SA87齒輪減速機配電機重量 | |||||||||
| SA87-0.75KW | SA87-1.1KW | SA87-1.5KW | SA87-2.2KW | SA87-3KW | SA87-4KW | SA87-5.5KW | SA87-7.5KW | SA87-11KW | SA87-15KW | |
99Kg | 115Kg | 119Kg | 122Kg | 131Kg | 134Kg | 145Kg | 159Kg | 172Kg | 214Kg | 234Kg |
SA87齒輪減速機潤滑油:
SA87齒輪減速機潤滑油類型有礦物油,合成油,齒輪油。
SA87齒輪減速機潤滑油類型 | SA87齒輪減速機不同安裝方式的潤滑油加注量(升) | |||||
M1 | M2 | M3 | M4 | M5 | M6 | |
合成油 | 3.80升 | 7.4升 | 6.0/8.7升 | 10.8升 | 8.0升 | 8.0升 |
SA87齒輪減速機電機電流:
| 功率 | 空載電流 | 允許電流泄漏值 | 負載電流 | 額定電流 |
| 100W | 0.38A | 10mA | 0.5A | 0.5\0.87 |
| 180W | 0.65\1.13 | |||
| 200W | 0.55A | 0.75A | 0.8\1.39 | |
| 250W | 0.55A | 0.9A | 0.9\1.56 | |
| 370W | 0.9A | 1.3 | 1.1\1.9 | |
| 400W | 0.9A | 1.36A | 1.4\2.4 | |
| 400W | 1.0A | 1.45A | 1.4\2.4 | |
| 400W | 0.8A | 1.2A | 1.2\2.1 | |
| 550W | 1.05A | 1.7A | 1.8\2.6 | |
| 750W | 1.83A | 2.25A | 2.25\3.9 | |
| 750W | 1.13A | 2.15A | 2.2\3.8 | |
| 1100W | 1.6A | 2.7A | 2.6\4.5 | |
| 1100W | 2 | 4.5 | ||
| 1.3 | 2.6 | |||
| 1.2 | 2.4 | |||
| 1.1 | 2.25 | |||
| 2.2 | 4.4 | |||
| 1.2 | 2.4 | |||
| 1.1 | 2.1 | |||
| 1.0 | 2 | |||
| 2.7 | ||||
| 1500W | 1.5A | 3.2A | 4.0\6.9 | |
| 1500W | 1.7A | 3.82A | 3.8\6.6 | |
| 1500W | 1.94A | 4.0A | 4.0\6.9 | |
| 2200W | 3.3A | 5.6A | 5.5\9.5 | |
| 2200W | 2.5A | 5.4A | 5.5\9.5 | |
| 3000W | 2.7A | 5.8A | 7.5\13 | |
| 3700W | 3.5A | 9.2A | 9.2\15.9 | |
| 5500W | 4.7A | 13.5A | 13.5\23.5 | |
| 7500W | 6.0A | 15.0A | 15.0\26.0 | |
| 4000W | 4.0A | 9.0A | 9.6\16.6 | |
| 5500W | 5.7A | 13.5A | 13.5A | |
| 7500W | 5.5A | 15.0A | 15.0A | |
| 5500W | 9A | 22A | 22A | |
| 9A | 20A | 21A | ||
| 4.7A | 11.6A | 12A | ||
| 4.3A | 10.6A | 10.6A | ||
| 3.7A | 22A | 9.2A | ||
| 7500W | 5.5A | 15.7A | 15A | |
| 12A | 26A | 26A | ||
| 5.3 | 14.4 | 14.4 | ||
| 5 | 13.6 | 13.6 | ||
| 4.7 | 12.4 | 12.4 | ||
| 11KW | 11.2 | 20mA | 23 | 23A |
| 19.3 | 40 | 40 | ||
| 15kw | 13.5 | 31.5 | 31.5A | |
| 23.3 | 54.6 | 54.6 | ||
| 18.5KW | 15.7 | 37 | 37 | |
| 27.1 | 64.1 | 64.1 | ||
| 22KW | 17 | 43 | 43 | |
| 29.4 | 74.5 | 74.5 | ||
| 24KW | 18 | 47.7 | 47.7 | |
| 30KW | 15 | 57 | 57 | |
| 25.9 | 98.7 | 98.7 |
質量好的SA87齒輪減速機:檢驗項目自鎖減速機
1.SA87齒輪減速機機械性能檢測:振動、噪音異響速比軸跳動外觀型號氣密性;
2.SA87齒輪減速機電器性能檢驗:漏電、電流平穩性空載電流;
3.SA87齒輪減速機裝箱檢驗:減速機配套附件說明書、合格證。伺服電機連接減速機
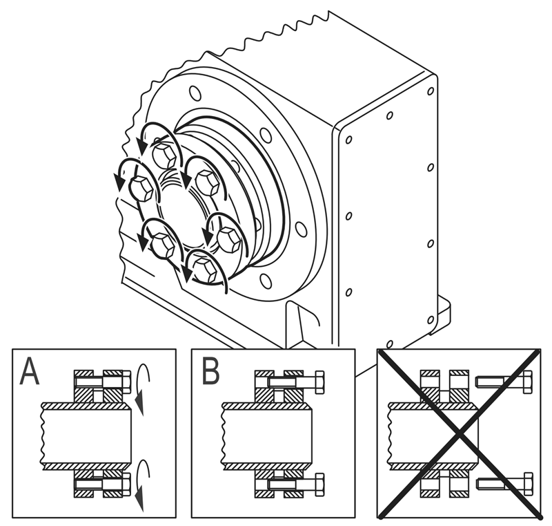
SA87齒輪減速機鎖緊盤清潔潤滑:
帶鎖緊盤的空心軸減速器,在不裝入軸的情況下擰緊拉緊螺釘可能造成空心軸變形??赡茉斐韶敭a損失!只能通過安裝的軸擰緊拉緊螺釘。將鎖緊螺栓松開幾扣(不要全部松出)。

采用通用溶劑小心拭去空心軸孔和輸入軸上的油脂。

除去空心軸以及用戶實心軸上的油污,在輸入軸襯套的位置上涂上潤滑劑。鎖緊盤的夾緊區域必須保持清潔,不粘油脂!因此,不得將潤滑油直接涂覆在襯套上。因為,套裝輸入軸時,潤滑劑可能滲入鎖緊盤的夾緊區域。

裝上輸入軸,注意保證鎖緊盤的外圈相互平行。對于帶軸肩的減速器箱體;將鎖緊盤安裝于軸肩的擋塊處。對于無軸肩的減速箱;將鎖緊盤安裝于距離減速箱1到2 mm 的位置處。用扭力扳手依次(不可交叉)上緊拉緊螺釘,擰緊時扳手要擰多次。精確的擰緊扭矩在鎖緊盤上顯示。安裝后檢查鎖緊盤之間的余隙是否大于0mm。在空心軸外側鎖緊盤的位置涂上油脂以避免腐蝕。
SA87齒輪減速機選型參數:
| SA87齒輪減速機速比 | 288比,258.18比,222.4比,202.96比,180比,151.3比,139.05比,123.48比,110.4比,99.26比,91.2比,86.15比,81.76比,77.14比,70.43比,64.27比,64比,57比,47.91比,44.03比,39.1比,34.96比,31.43比,27.28比,25.5比,24.43比,21.43比,20.27比,19.7比,17.49比,15.64比,14.06比,12.21比,10.93比,9.07比,7.88比。 |
| SA87齒輪減速機輸出轉數 | 4.9轉,5.4轉,6.3轉,6.9轉,7.8轉,9.3轉,10轉,11轉,14轉,15轉,16轉,17轉,18轉,20轉,22轉,25轉,29轉,32轉,36轉,40轉,45轉,51轉,55轉,57轉,65轉,69轉,71轉,80轉,90轉,100轉,115轉,128轉,154轉,178轉。(以上轉數均為四級電機算出的,可用2P,6P,8P計算,也可以用變頻電機調速,當需要特別低速輸出時,可選擇R系列減速機作為S系列減速機的輸入) |
| SA87齒輪減速機配電機 | 可與三相,直流,變頻,剎車,防爆,伺服,交流,單相電機SA87與0.75KW,SA87與1.1KW,SA87與1.5KW,SA87與2.2KW,SA87與3KW,SA87與4KW,SA87與5.5KW,SA87與7.5KW,SA87與11KW,SA87與15KW。 |
| SA87齒輪減速機負載扭矩 | 2280N.m,2260N.m,2210N.m,2150N.m,2100N.m,2060N.m,2000N.m,1960N.m,1510N.m,1880N.m,1600N.m,1820N.m,1700N.m,1240N.m,1140N.m,1010N.m。(以上扭矩均為四級電機得出扭矩,需要比上面更大的扭矩,可把電機功率加大,減速機型號加大,或者選擇跟R系列減速機組合使用) |
SA87齒輪減速機銘牌含義:
SA87-BVPEJ18.5KW-4P-93.19-M1-270°
:系列代號
:減速機規格代號
B:電機
VPEJ:變頻剎車電機
18.5KW:電機功率
4P:電機級數
93.19:減速機傳動比
M1:減速機安裝位置
270°:接線盒位置
SA87齒輪減速機電機型號:

推薦類似型號:S87減速機
關鍵詞:加伺服電機連接減速機一體化_私服電機加減速機_SA系列減速機_私服電機減速機_GSA系列減速機_SA系列減速器_伺服電機連接減速器_私服減速機_私服電機減速器
SA系列蝸輪蝸桿減速機型號:SA37減速機,SA47減速機,SA57減速機,SA67減速機,SA77減速機,SA87減速機,SA97齒輪減速機
SA系列自鎖減速機可配變頻電機,剎車電機,防爆電機,伺服電機,交流電機,直流電機,三相電機,單相電機 0.12KW-22KW之間
如需工程師幫選型,請加微信13827261050,留言告知工程師參數要求
標簽:   SA87齒輪減速機 SA87減速齒輪箱 SA87減速馬達 SA87齒輪減速機廠家 SA87齒輪減速機生產廠家
